服务热线

400-869-8582

我们能帮您找点什么吗?

浅谈光电测距传感器的功能与技术

文章编辑:深圳市广陵达科技有限公司 发表时间:2026-03-30 18:17:12

      三角测量

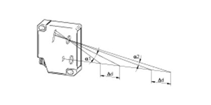
      距离测量基于三角测量原理。激光束将物体照射成一个小点。传感器的接收器(光电二极管线)检测该点的位置。入射角随距离变化,从而改变接收器上激光点的位置。光电二极管线由集成的微控制器读取。控制器根据光电二极管线上的光分布准确计算出角度,然后据此计算出物体的距离。这个距离可以通过串行端口发出,也可以转换成与距离成比例的输出电流。微控制器保证了高线性度和测量精度。光电二极管线路和微控制器的结合可以抑制干扰反射,从而提供来自关键表面的可靠数据。传感器通过调整内部灵敏度来适应不同的颜色,因此几乎不受物体颜色的影响。如果测量范围内没有物体,或者接收到的光线不足以正确检测物体(例如传感器脏污),则会激活数字输出。可能的分辨率和精度随距离的变化而变化。同样的距离 Δd,在靠近传感器时会导致角度 α1 发生较大变化,而在较远距离时,角度 α2 的变化要小得多(见图)。微控制器对这种非线性行为进行校正,使输出信号与距离保持线性关系。

光电传感器的三角测量示意图 .jpg

      测量功能

距离测量窗口测量

在距离测量中,传感器可立即投入使用,并给出传感器到物体的距离。测量值可用于物体的精确

定位或系统控制。数字输出也可作为选项进行参数设置。

例如,如果要检测物体的尺寸精度,可以通过教入一个基准来直接窗口测量,从而直接

确定与标称尺寸的偏差。在这里,数字输出也可以进行相应的参数设置。

光电传感器的距离测量示意图.png光电传感器的窗口测量示意图.png

      光束形状

      除了不同的尺寸和范围外,光束形状也起着特别重要的作用。经过不断的研发,堡盟现在可以通过新的 “多点 ”测量原理在其产品组合中提供三种不同的光束形状:

点激光线激光多点激光
激光聚焦点小于 0.4 mm,可精确测量小物体

凭借小于 10 mm 的精细激光线,可对粗糙表面和彩色纹理

表面进行稳定测量

使用超长激光线 < 72 mm,通过 600 多次测量,

对不均匀光泽和非常粗糙的表面进行稳定测量

光电传感器的点激光示意图.jpg光电传感器的线激光示意图.jpg光电传感器的多点激光示意图.jpg

      最佳聚焦范围

      激光测距传感器可实现分辨率小于一微米的高精度距离和位置测量。但在实际应用中,干扰效应会降低光学距离测量的重复性。堡盟OM70激光测距传感器采用了可选择的聚焦范围,显著提高了局部重复性,从而确保了更可靠的测量结果和更高的过程可靠性,适用于自动化测量任务。

      特点

抗环境光能力强自动曝光控制同步输入/触发

传感器中集成的强大算法使激光测距传感器对外部

光源非常不敏感。这确保了可靠、稳健的运行。

Baumer 的光学测距传感器通过改变传输强度和优化曝光时间,

自动适应不同的物体颜色和亮度水平。因此,它们不受物体反

射率的影响。也可以测量反射率高达 2% 的物体。

多个传感器的测量可通过同步输入进行同步。对于厚度测量,

可通过同步输入在同步模式下同时触发两个传感器。另一方

面,在异步模式下,应用中相互干扰的几个传感器可以有意

地一个接一个地操作。

光电传感器具有抗环境光能力强的特点.jpg光电传感器具有自动曝光控制的特点.jpg光电传感器具有同步输入 触发的特点.jpg
可编程滤波器功能可编程测量范围可配置的开关量输出

通过激活滤波功能可以降低输出信号的噪声,从而提

高分辨率。滤波器用于抑制测量误差。只有在一定数

量的测量值之后,输出才会发生变化。滤波器不会影

响测量频率,但会影响响应时间。可以通过选择预定

义的精度模式对滤波器功能进行参数设置。

用户可通过示教按钮、示教线或显示屏在最大测量范围内调整

测量范围。在此示教范围内,模拟输出具有全行程,因此测量

精度更高。出厂设置为最大测量范围。

一旦定义的测量值超过或低于设定值,开关输出就会立即切换。

为了获得可靠的开关信号,滞后(开关点与返回开关点之间的

差值)可以毫米为单位的绝对值进行参数设置。无论物体在视

场中的位置如何,都能确保系统安全运行。

光电传感器具有可编程滤波器功能.jpg光电传感器具有可编程测量范围.jpg光电传感器具有可配置的开关量输出.jpg

      飞行时间/运行时间测量

      使用运行时间测量方法,可以通过测量信号在所覆盖范围内移动所需的时间来间接测量距离。这在现实世界中的应用如下:发送装置发射脉冲信号,当信号被物体反射时,传感器的接收器接收到信号。传感器的电子装置会评估所经过的时间和/或遇到的相位偏移,然后将其转换为距离信息。通过应用运行时间技术,即使在很远的距离也能精确可靠地探测到物体。

光电传感器飞行时间运行时间测量示意图.jpg

      多光斑截面传感器

      堡盟创新的多点测量原理基于光截面技术。传感器每次测量最多可确定 600 个物体的测量值,并通过智能评估程序根据这些值计算出距离。在 500 Hz 的测量频率下,传感器的分辨率可达 2 µm,因此能够提供稳定、精确的测量结果。

多光斑截面传感器.jpg

备注:本文来源于 Baumer 官网。

热门推荐